果博东方
中国政府网
湖北政府网
武汉政府网
智能问答
长者专区
无障碍
登录
注册
搜 索
搜 索
首 页
政府信息公开
办事服务
互动交流
数据开放
走进果博东方
专题导航
首 页
政府信息公开
办事服务
互动交流
数据开放
走进果博东方
专题导航
当前位置:
果博东方
>
部门信息公开目录
>
政府派出机构
>
区红钢城街道办事处
>
政府信息公开工作年度报告
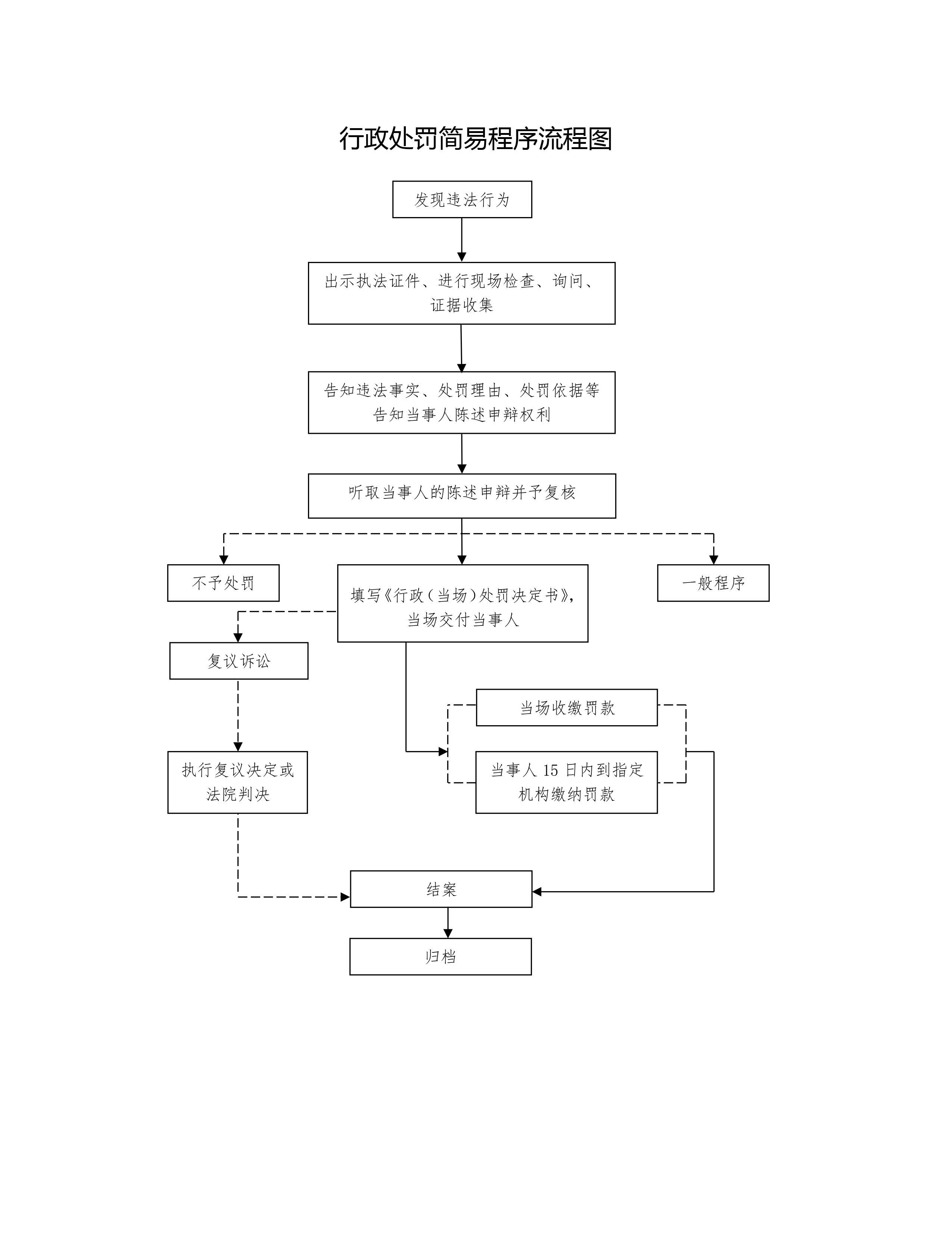
红钢城街道关于行政执法事前公示信息清单的通告
发布时间:2022-01-24 11:31
|
来源:果博东方(中国)官方网站 红钢城街
扫一扫在手机上查看当前页面
下载
打印
关闭
1912650
红钢城街道关于行政执法事前公示信息清单的通告
20
果博东方(中国)官方网站 红钢城街
2022-01-24
50005
政府信息公开工作年度报告